Техника фокусировки. Общие термины фокусировки
Когда вы фотографировали в последний раз, вы помните, как вы фокусировались? Вполне вероятно,что вы просто нажали кнопку спуска, понадеявшись на автофокус. Конечно, автофокус в современных фотокамерах достаточно точен и аккуратен, но он не всегда приводит к оптимальным результатам.
Фокусировка и экспозиция идут рука об руку. Это две самые важные опции, подконтрольные фотографу. Да и если мы говорим об удачном фото, то подразумеваем правильное количество света (экспозиция) в правильном месте снимаемой сцены (фокус), которое экспонируется на светочувствительный чип цифровой фотокамеры. Всё остальное – детали.
И тем не менее, фокусу уделяют незаслуженно мало внимания. Много пишут о том, как правильно сделать экспозамер, выбрать правильную экспозицию и решить проблему контраста и динамического диапазона. Но когда дело касается фокуса, большинство из нас ограничивается примитивным трюком: нажать кнопку спуска до половины и позволить камере сделать всю работу за нас.
Контроль над фокусировкой камеры может привести к существенным улучшениям в ваших фотографиях. И этим мы вовсе не хотим сказать, что вы должны забыть автофокус и всегда отныне фокусироваться вручную (хотя бывают случаи, что лучше всего именно так и делать). Мы просто хотим, чтобы вы думали внимательно прежде, чем сделать вот это самое полу-нажатие, за которым можно переложить всю работу на камеру.
Начните задавать себе вопросы: выбран ли наилучший режим фокусировки? Фокусируюсь ли я в правильном месте кадра? Правильно ли выбрана ГРИП? Если ни один из этих вопросов не несёт в себе смыла, а лишь представляет собой набор слов, то не волнуйтесь – после прочтения этого гида по фокусировке вы легко поймёте их смысл, сами ответите на эти вопросы и улучшите ваши изображения.
Мы всегда предполагаем, что новейшие технологии внедряются в производство фотокамер для того, чтобы у нас всегда получались чёткие изображения, причём с резкостью в нужном месте. Но так ли это на самом деле?
Автофокус – это одна из тех вещей, которые все фотографы хотя бы раз в жизни принимали за нечто само собой разумеющееся. Стоит лишь нажать до половины кнопку спуска – и вся остальная работа будет сделана быстро и бесшумно.Только лишь ваша камера знает, что ей нужно пережить, чтоб правильно проинтерпретировать вашу задумку. Если вы поймёте, как эти новейшие технологии работают, мы сможете использовать их более эффективно во время своих съёмок.
Как работают автофокусировочные системы
В современных цифровых зеркалках существуют два типа автофокуса: автофокус обнаружения контраста (contrast detection AF) и фазовый автофокус (phase detection AF). Именно фазовый автофокус и используется в большинстве случаев.
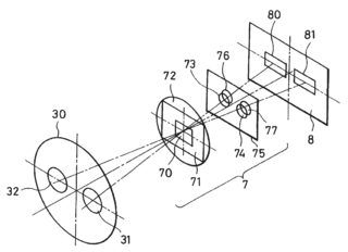
Фазовый автофокус работает следующим образом: берётся свет, поподающий в камеру через объектив, разделяется на два потока и направляется на пару сенсоров. Точка, в которую такой свет попадает на сенсоры, является указателем для камеры, находится ли сюжет в фокусе или нет. И если нет, то насколько не в фокусе и в каком направлении. Зная эти значения, камера может найти нужную точку для фокусировки очень быстро.
Источник картинки: Autofocus (статья в википедии)
Недостаток фазового автофокуса – для его работы в сцене должен присутствовать контраст. Если вы попробуете сфокусироваться на пустой стене однотонного цвета, ваша камера просто зайдётся в поиске фокуса.
Кроме этого для фазового автофокуса необходимо, чтобы зеркало было опущено. А при опущенном зеркале нельзя использовать режим Live View (отображение сцены на экранчик во время фокусировки, как у компактных камер). И именно здесь на помощь приходит автофокус обнаружения контраста. При таком автофокусе общий контраст сцены постоянно мониторится. Идея за этим простая: изображение имеет наибольший контраст в наиболее резких участках. Недостаток: это медленный способ фокусировки. Поэтому при его использовании необходимо использовать штатив.
Режимы автофокуса
У цифровых зеркалок есть два популярных режима автофокуса. Во-первых, - и наверное, самый широко используемый режим – это Single-Shot AF (в камерах Canon он называется One-Shot), то есть фокус одного снимка. В этом режиме эффективно применяется тот самый трюк полу-нажатия затвора, который вызывает собственно автофокус камеры. При полу-нажатии кнопки спуска фокус блокируется и остаётся в таком замороженном состоянии до тех пор, пока вы либо не дожмёте кнопку до конца, либо пока не отпустите кнопку.Фокус одного снимка не позволяет сделать снимок (дожать кнопку спуска до конца), пока фокус не найден. Если сюжет таков, что сфокусироваться трудно, то рекомендуется включить режим постоянного слежения за фокусом (continuous AF). В этом режиме кнопка затвора может нажиматься и снимки будут штамповаться вне зависимости от сфокусированности на сцене. При этом фокусировка будет продолжаться даже при полу-нажатой кнопке затвора. Этот режим чрезвычайно полезен, если вы снимаете движущиеся объекты.
Здесь стоит упомянуть старый добрый ручной фокус. К нему лучше всего прибегать, например, в условиях низкой освещённости и ночью, когда AF просто не может качественно отработать. Он же настоятельно рекомендуется при съёмке макро, поскольку точное место фокусировки критично.
Датчики фокусировки
Ранние AF-системы использовали один единственный датчик, расположенный в центре кадра. Современные же камеры оснащены группой датчиков, которые занимают добрую половину кадра. Эти датчики позволяют одним движением скомпоновать снимок и сфокусироваться на объекте, даже если он находится не в центре кадра.Рекордное количество фокусированнных датчиков на сегодняшний день составляет 51 и автор сего чуда – Nikon.
Если активированы все датчики, то камера будет фокусироваться на том, который попадает на объект, что находится ближе всего к фотографу – и этого может быть достаточно во многих ситуациях. Мульти-датчиковая фокусировка, однако, имеет один недостаток: она очень медленная. Но для ускорения вы можете активировать лишь один конкретный датчик – и камера будет стараться найти объект фокусировки в области этого датчика, причём это не обязательно будет ближайший к вам объект.
Не все фокусировочные датчики одинаковы. Они делятся на два типа. Линейный тип датчиков наиболее распространён, но низкочувствителен. Такие датчики ориентированы лишь в одном направлении (обычно сверху-вниз) и срабатывают в том случае, когда в их область видимости попадают горизонтальные объекты, перпендикулярные им (слева-направо).
Крестовые датчики чувствительны и по вертикальным и по горизонтальным направлениям. Они ещё и более быстрые. Центральный датчик, как правило, крестовой.


Комментарии
Отправить комментарий